Catalogue
Information
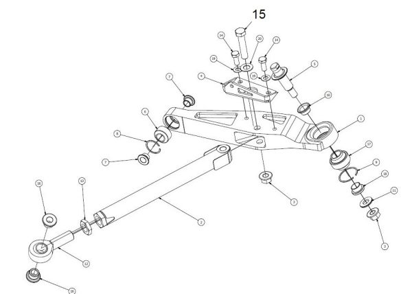
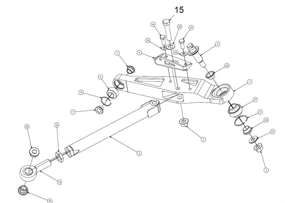
EVO X R4 Drawing Front Suspension Arm
Contact Us
1 CE114 026 Front arm RH – Front arm
1 CE114 165 Front arm LH – Front arm
2 CE114 027 Front arm RH – Rear rod assy
3 K-nut M14x2
4 CE114 051 Front arm – ARB mounting plate – RH
4 CE114 173 Front arm – ARB mounting plate – LH
5 CE114 065 Front arm RH – LBJ pin
6 RG18MTE_35
7 CE114 152 Front arm – RG18MTE.35 adapter bushing
8 Seeger SB 35
9 Seeger SB 45
10 CE114 071 Front arm – LBJ pin adapter
11 Nord-Lock NL14spss-254
12 RM22XE.C0
13 CE114 202 Nut M22x1.5
14 Hexagon head bolt – M10x1.25×25 – 12.9
15 CE114 155 Front arm – Rear rod – ISO 8765 – M14
16 CE114 072 Front arm – RM22XE -M14 adapter
17 HAB-14T
18 CE114 172 Front arm – LBJ pin adapter lower
19 Washer DIN 137 – UNI 8840 – B10
20 Washer DIN 137 – UNI 8840 – B14
Related products
-

Evo X NEW Transfer Box ACD Type
TRX998 Contact Us -

Evo X Group N/R4 Rear Driveshaft
TRX99 £646.00 -

Evo X Group N/R4 Front Driveshaft
TRX96 £599.00
Most Popular Products
-

EVO X R4 Kit
EXR400001 Contact Us -

EVO X UNDER FLOOR GUARD PROTECTION
PRX16 £451.00 -

EVO X UNDER FLOOR GUARD PROTECTION
PRX160 £451.00 -

EVO 5-9 Tubular Rear Subframe
S01 Contact Us




